Upozornenie:
Platí iba pri objednávke tovaru cez ESHOP. Zľava je uvedená pri každom tovare individuálne.
Zľavy neposkytujeme pri platbe platobnou kartou v Štúdiu KúpeľneSK.
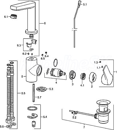
Hansa TWIST umývadlová batéria s výpusťou, chróm 09542203
Cena s DPH: 334,81 € / ks Cena s DPH s dodatočnou zľavou: 300,32 € / ks
| Kód: | HS 09542203 |
| Výrobca: | Hansa |
| Dostupnosť: | Na preverenie do 1 dňa |
Dodatočná zľava 1-10% pre Vás. V košíku zadajte Zľavový kupón: "KUPELNESK"
Vyberte si dostupné doplnky ( doplnok vkladáte do košíka v ľubovolnom množstve )
Hansa TWIST umývadlová batéria s výpusťou,chróm 09542203
Prietokové množstvo: 6 l / min, merané pri 3 baroch hydraulického tlaku
Telesá armatúr: mosadz neuvoľňujúca zinok (MS 63)
Plná páka (kov)
označenie teplá-studená
perlátor
konštantný prietok nezávislý na tlaku vody
zlepšenie ochrany proti usadeninám pomocou HONEYCOMB štruktúry
odpadová súprava (kov) a ovládanie tiahlom
pripojení tlakové hadice G 3/8
montážny systém Rapid
DN15
Výtok: liaty, o 150 °otočný - vyberateľná Zarážka
Vyloženie: 130mm





