Upozornenie:
Platí iba pri objednávke tovaru cez ESHOP. Zľava je uvedená pri každom tovare individuálne.
Zľavy neposkytujeme pri platbe platobnou kartou v Štúdiu KúpeľneSK.
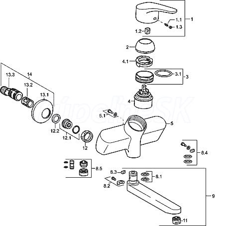
Hansa MIX umývadlová nástenná batéria,chróm 01949283
Cena s DPH: 390,94 € / ks Cena s DPH s dodatočnou zľavou: 350,67 € / ks
| Kód: | HS 01949283 |
| Výrobca: | Hansa |
| Dostupnosť: | Na preverenie do 1 dňa |
Dodatočná zľava 1-10% pre Vás. V košíku zadajte Zľavový kupón: "KUPELNESK"
Vyberte si dostupné doplnky ( doplnok vkladáte do košíka v ľubovolnom množstve )
Hansa MIX umývadlová nástenná batéria,chróm 01949283
Prietokové množstvo: 12 l/min,merané pri 3 baroch hydraulického tlaku
ovládacia páka (kov)
regulátor prúdu vody
vyprázdňovanie výtoku
etážky,uzatvárateľné
rozteč: 150 ± 20mm
DN15
Vyloženie: 246mm
Výtok: liaty, otočný o 120° (stav pri dodaní) alebo možnosť aretácie uprostred





